FRPP Q41F-10S flangeou padrão da válvula de bola DN20-100 20A-100A JIS

Válvula de esfera tipo DN20-100 FRPP/RPP, direta, válvula de esfera fixa com flange de plástico de alta temperatura para água industrial, padrão JIS
Modelo: Q41F-10S
Material: Plástico
Tipo de conexão: flangeada
Modo de energia: Manual
Pressão Nominal: 10kg
Passagem: Direto
Estrutura: Válvula Esfera Fixa
Função: Válvula de Bypass
Temperatura: Alta Temperatura
Aplicação: Uso Industrial, Uso da Indústria de Água
Tamanho: DN20-100
Origem: Zhejiang, Ningbo
Código HS: 8481804090

Classe de pressão: 1,0Mpa(10bar)

Características estruturais do produto

1.As válvulas de esfera da série de plástico de engenharia são feitas de materiais termoplásticos resistentes à corrosão, como FRPP, PVDF, PVC-C, PVC-U e HPP, formados por moldagem por injeção única, proporcionando forte resistência à corrosão.
2. Vedação confiável com baixo torque operacional.
3. Baixa resistência a fluidos e abertura e fechamento rápidos.
4.Estrutura simples com uma aparência atraente.

euista de limites de temperatura do aplicativo

Materiais Temperatura média℃ Materiais Temperatura média℃
PVC-C -20℃~95℃ PVC-U -5℃~45℃
FRPP -20℃~120℃ PPH -20℃~ 110℃
PVDF 40℃~ 150℃

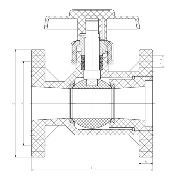
Desenho detalhado do conjunto da válvula de esfera de forma corporal

Tabela de materiais de peças

Não. Nome Materiais
1 Alça Material de liga
2 Porca de retenção FRPP、PVDF、PVC-U、PVC-C、PPH
3 Anel de localização FRPP、PVDF、PVC-U、PVC-C、PPH
4 Caule FRPP、PVDF、PVC-U、PVC-C、PPH
5 Caule seal PTFE
6 Bola selada PTFE
7 Assento de vedação FRPP、PVDF、PVC-U、PVC-C、PPH
8 Bola FRPP、PVDF、PVC-U、PVC-C、PPH
9 Corpo FRPP、PVDF、PVC-U、PVC-C、PPH
Lista de dimensões

DN (mm) D d L h n Ø
20(3/4") 105 75 120 17 4 15
25(1") 120 90 130 16 4 19
32(1 1/4") 135 100 145 18 4 19
40(1 1/2") 145 105 168 20 4 19
50(2") 160 120 180 20 4 19
65(2 1/2") 180 140 225 22 4 19
80(3") 195 150 260 25 4 19
100(4") 215 175 280 25 8 19

Feedback da mensagem
[#entrada#]
Sobre nós
Kaixin Pipeline Technologies Co., Ltd.
Fundada em 1999, Kaixin Pipeline Technologies Co., Ltd. é uma empresa de alta tecnologia que integra P&D, fabricação, vendas e serviços. A empresa possui várias certificações de prestígio, incluindo Empresa Nacional de Alta Tecnologia, PME Especializada e Sofisticada “Pequeno Gigante”, Campeã Nacional de Produto Único (Cultivo), PME Provincial de Base Tecnológica, PME Especializada e Sofisticada de Ningbo, Campeã de Produto Único de Ningbo (Cultivo), Centro de P&D de Tecnologia de Tubos e Válvulas de Polímero de Ningbo, Fábrica Verde em Nível Distrital, Empresa de Inovação de Gerenciamento Quatro Estrelas de Ningbo e Nível de Maturidade de Capacidade de Gerenciamento de Dados Empresariais 2.
Somos especializados no desenvolvimento, produção e fornecimento de produtos não metálicos resistentes à corrosão para aplicações químicas, incluindo válvulas plásticas, tubos, acessórios para tubos e bombas resistentes à corrosão. Nosso portfólio de produtos abrange materiais como PVC-C, PVC-U, PVDF, PPH e FRPP, com uma ampla gama de tipos e especificações. Notavelmente, nossas válvulas borboleta podem atingir o diâmetro DN1000, enquanto os tubos e conexões se estendem até DN800, atendendo às lacunas do mercado e mantendo nossa vantagem competitiva na indústria.
Guiada pelo princípio “Impulsionado pela tecnologia, acompanhando o ritmo dos tempos”, a Kaixin aloca quase 10 milhões de RMB anualmente para P&D. Garantimos qualidade superior do produto por meio de fabricação automatizada padronizada e fornecimento rigoroso de matérias-primas importadas. Alinhados com a nossa estratégia de desenvolvimento internacional, monitorizamos continuamente as tendências do mercado global e aproveitamos os canais digitais para levar produtos “Made in China” de alta qualidade a clientes em todo o mundo.
Ningbo • Base de P&D e Produção de Fenghua
Com um investimento total de 200 milhões de RMB, a Kaixin Ultra-Pure Pipe Technology (Ningbo) Co., Ltd. estabeleceu um novo laboratório de materiais em colaboração com universidades e institutos de pesquisa, construiu uma base de fabricação moderna e instalou 8 linhas de produção totalmente automatizadas para plásticos modificados e 8 para materiais poliméricos. A instalação é dedicada à pesquisa e desenvolvimento, produção e aplicação de novos plásticos modificados e materiais poliméricos. A Kaixin também está comprometida em atrair os melhores talentos em todas as disciplinas, impulsionando continuamente a inovação de produtos e o desenvolvimento de marcas, com o objetivo de se tornar um líder reconhecido mundialmente em pesquisa e desenvolvimento e fabricação de válvulas, tubos e conexões de polímero.
Certificado de Honra
  • honor
  • honor
  • honor
  • honor
  • honor
  • honor
  • honor
  • honor
  • honor
Notícias