Válvula de retenção vertical DN15-300 de PVC-U H41F-10U 1/2"-12" padrão ANSI

Válvula de retenção de esfera vertical cinza PVC-U personalizada 6" 8" Válvula de retenção horizontal de PVC-U com extremidade flangeada pequena para águas residuais e indústria química Padrão ANSI
Origem: China
Marca: KXPV
Modelo: H41F-10U
Aplicação: Geral
Material: Plástico
Temperatura Média: Média, Ambiente
Cor: Cinza/Preto
Pressão: Pressão Média
Fonte de alimentação: manual
Médio: Ácido
Tamanho da porta: DN15–DN300
Estrutura: Válvula de retenção
Nome do produto: Válvula de retenção vertical
Conexão: extremidade flangeada
Classe de pressão: 1,0Mpa (10bar)
Operação: Volante
Material do corpo: Plástico
Prazo de entrega: 7 dias
Quantidade mínima de pedido: 1 peça

Características estruturais do produto

1. Resistência à corrosão
A válvula é feita de novos materiais plásticos, proporcionando forte resistência à corrosão contra vários meios ácidos e alcalinos.
2. Grande capacidade de fluxo
A válvula é projetada com uma estrutura razoável que reduz a resistência da tubulação, permitindo que o meio flua suavemente e reduzindo a perda de pressão, garantindo o fluxo.
3. Verifique a funcionalidade da válvula
Com uma estrutura simples e mínimas influências externas, oferece excelente prevenção de refluxo.
4.Compacto e leve
A válvula possui um design pequeno e compacto, tornando-a ideal para instalação em espaços apertados

Lista de limites de temperatura do aplicativo

Materiais Temperatura média℃ Materiais Temperatura média℃
PVC-C -20℃~95℃ PVC-U -5℃~ 45℃
FRPP -20℃~120℃ HPP -20℃~ 110℃
PVDF 40℃~ 150℃

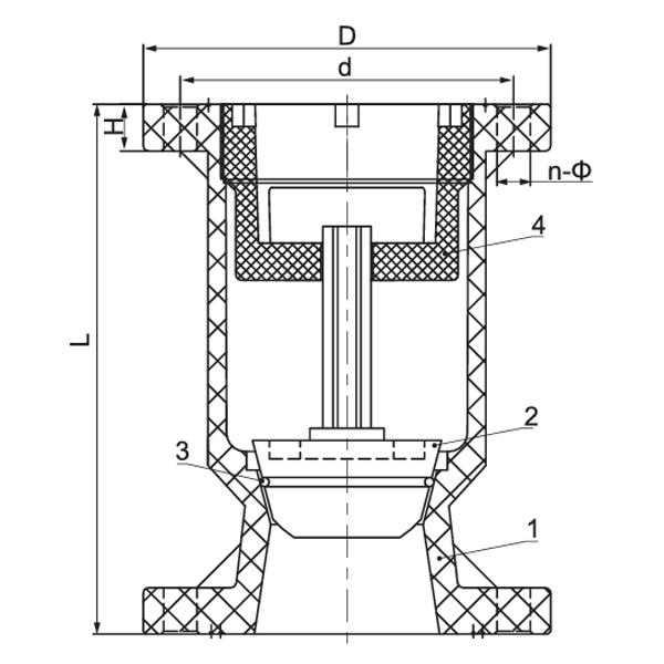
Tabela de materiais de peças
Não. Nome Materiais Quantidade.
PVC-C PVC-U PVDF HPP FRPP
1 Corpo PVC-C PVDF HPP FRPP 1
2 Núcleo de bola PVC-C PVDF-C PVC-C 1
3 Borracha de vedação MPF 1
4 Assento de vedação PVC-C PVC-U PVDF HPP FRPP 1

Lista de dimensões

Especificação d(mm) D(mm) L(mm) b(mm) n-Φ(mm)
2"(50) 121 160 185 22 4-Φ19
4"(100) 191 215 285 25 8-Φ19
5"(125) 216 245 357 31 8-Φ22
6"(150) 241 280 410 30 8-Φ23
8"(200) 299 335 400 35 8-Φ23
10"(250) 362 406 450 38 12-Φ25

Feedback da mensagem
[#entrada#]
Sobre nós
Kaixin Pipeline Technologies Co., Ltd.
Fundada em 1999, Kaixin Pipeline Technologies Co., Ltd. é uma empresa de alta tecnologia que integra P&D, fabricação, vendas e serviços. A empresa possui várias certificações de prestígio, incluindo Empresa Nacional de Alta Tecnologia, PME Especializada e Sofisticada “Pequeno Gigante”, Campeã Nacional de Produto Único (Cultivo), PME Provincial de Base Tecnológica, PME Especializada e Sofisticada de Ningbo, Campeã de Produto Único de Ningbo (Cultivo), Centro de P&D de Tecnologia de Tubos e Válvulas de Polímero de Ningbo, Fábrica Verde em Nível Distrital, Empresa de Inovação de Gerenciamento Quatro Estrelas de Ningbo e Nível de Maturidade de Capacidade de Gerenciamento de Dados Empresariais 2.
Somos especializados no desenvolvimento, produção e fornecimento de produtos não metálicos resistentes à corrosão para aplicações químicas, incluindo válvulas plásticas, tubos, acessórios para tubos e bombas resistentes à corrosão. Nosso portfólio de produtos abrange materiais como PVC-C, PVC-U, PVDF, PPH e FRPP, com uma ampla gama de tipos e especificações. Notavelmente, nossas válvulas borboleta podem atingir o diâmetro DN1000, enquanto os tubos e conexões se estendem até DN800, atendendo às lacunas do mercado e mantendo nossa vantagem competitiva na indústria.
Guiada pelo princípio “Impulsionado pela tecnologia, acompanhando o ritmo dos tempos”, a Kaixin aloca quase 10 milhões de RMB anualmente para P&D. Garantimos qualidade superior do produto por meio de fabricação automatizada padronizada e fornecimento rigoroso de matérias-primas importadas. Alinhados com a nossa estratégia de desenvolvimento internacional, monitorizamos continuamente as tendências do mercado global e aproveitamos os canais digitais para levar produtos “Made in China” de alta qualidade a clientes em todo o mundo.
Ningbo • Base de P&D e Produção de Fenghua
Com um investimento total de 200 milhões de RMB, a Kaixin Ultra-Pure Pipe Technology (Ningbo) Co., Ltd. estabeleceu um novo laboratório de materiais em colaboração com universidades e institutos de pesquisa, construiu uma base de fabricação moderna e instalou 8 linhas de produção totalmente automatizadas para plásticos modificados e 8 para materiais poliméricos. A instalação é dedicada à pesquisa e desenvolvimento, produção e aplicação de novos plásticos modificados e materiais poliméricos. A Kaixin também está comprometida em atrair os melhores talentos em todas as disciplinas, impulsionando continuamente a inovação de produtos e o desenvolvimento de marcas, com o objetivo de se tornar um líder reconhecido mundialmente em pesquisa e desenvolvimento e fabricação de válvulas, tubos e conexões de polímero.
Certificado de Honra
  • honor
  • honor
  • honor
  • honor
  • honor
  • honor
  • honor
  • honor
  • honor
Notícias