Tipo válvula de verificação DN15-300 do balanço de PVC-C H44F-10V 1/2"-12" padrão do ANSI

Válvula de retenção giratória de PVC-C cinza de alta qualidade DN15 – DN300 PN16 Válvula de retenção de wafer de plástico de 6 polegadas para uso químico e industrial Padrão ANSI
Origem: China
Marca: KXPV
Modelo: H44F-10V
Aplicação: Geral
Material: Plástico
Temperatura Média: Média, Ambiente
Pressão: Pressão Média
Fonte de alimentação: manual
Médio: Ácido
Tamanho da porta: DN15–DN300
Estrutura: Válvula de retenção
Nome do produto: Válvula de retenção wafer
Cor: Cinza
Embalagem: Caixa
Prazo de entrega: 7 dias
Quantidade mínima de pedido: 1 peça

Classe de pressão: 1,0Mpa(10bar)

Características estruturais do produto

1.Evita o refluxo de líquidos, protegendo bombas e outros equipamentos.
2.Como válvula de retenção tipo cantilever, ela gera resistência mínima ao fluido.
3. Feito de materiais totalmente plásticos, oferecendo excelente resistência à corrosão em fluidos ácidos, alcalinos e outros fluidos corrosivos.
4.O corpo da válvula pode ser removido da tubulação e a tampa da válvula pode ser aberta para inspeção e manutenção interna.

Lista de limites de temperatura do aplicativo

Materiais Temperatura média℃ Materiais Temperatura média℃
PVC-C -20℃~95℃ PVC-U -5℃~45℃
FRPP -20℃~120℃ HPP -20℃~ 110℃
PVDF 40℃~ 150℃

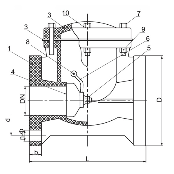
Tabela de materiais de peças
Não. Nome Materiais Quantidade.
PVC-C PVC-U PVDF HPP FRPP
1 Corpo PVC-C PVC-U PVDF HPP FRPP 1
2 Boné PVC-C PVC-U PVDF HPP FRPP 1
3 Borracha de vedação MPF EPDM MPF EPDM 1
4 Porta PVC-C PVC-U PVDF HPP FRPP 1
5 Parafuso de retenção PVC-C PVC-U PVDF HPP FRPP 1
6 Balancim PVC-C PVC-U PVDF HPP FRPP 1
7 Parafuso Aço Aço SS Aço 6-16
8 Biela PVC-C PVC-U PVDF HPP FRPP 1
9 Noz Aço Aço SS Aço 6-32
10 Placa Aço Aço SS Aço 1

Lista de dimensões

Especificação d(mm) D(mm) L(mm) b(mm) n-Φ(mm)
1/2"(15) 60 115 160 18 4-Φ16
3/4"(20) 70 115 160 18 4-Φ16
1"(25) 79 115 160 18 4-Φ16
1½"(40) 98 145 170 20 4-Φ16
2"(50) 121 160 200 21 4-Φ19
2½"(65) 140 180 240 25 4-Φ19
3"(80) 152 197 265 26 8-Φ19
4"(100) 191 215 300 26 8-Φ19
5"(125) 216 250 350 30 8-Φ22
6"(150) 241 280 400 30 8-Φ22
8"(200) 299 340 500 30 8-Φ22
10"(250) 362 390 575 38 12-Φ25

Feedback da mensagem
[#entrada#]
Sobre nós
Kaixin Pipeline Technologies Co., Ltd.
Fundada em 1999, Kaixin Pipeline Technologies Co., Ltd. é uma empresa de alta tecnologia que integra P&D, fabricação, vendas e serviços. A empresa possui várias certificações de prestígio, incluindo Empresa Nacional de Alta Tecnologia, PME Especializada e Sofisticada “Pequeno Gigante”, Campeã Nacional de Produto Único (Cultivo), PME Provincial de Base Tecnológica, PME Especializada e Sofisticada de Ningbo, Campeã de Produto Único de Ningbo (Cultivo), Centro de P&D de Tecnologia de Tubos e Válvulas de Polímero de Ningbo, Fábrica Verde em Nível Distrital, Empresa de Inovação de Gerenciamento Quatro Estrelas de Ningbo e Nível de Maturidade de Capacidade de Gerenciamento de Dados Empresariais 2.
Somos especializados no desenvolvimento, produção e fornecimento de produtos não metálicos resistentes à corrosão para aplicações químicas, incluindo válvulas plásticas, tubos, acessórios para tubos e bombas resistentes à corrosão. Nosso portfólio de produtos abrange materiais como PVC-C, PVC-U, PVDF, PPH e FRPP, com uma ampla gama de tipos e especificações. Notavelmente, nossas válvulas borboleta podem atingir o diâmetro DN1000, enquanto os tubos e conexões se estendem até DN800, atendendo às lacunas do mercado e mantendo nossa vantagem competitiva na indústria.
Guiada pelo princípio “Impulsionado pela tecnologia, acompanhando o ritmo dos tempos”, a Kaixin aloca quase 10 milhões de RMB anualmente para P&D. Garantimos qualidade superior do produto por meio de fabricação automatizada padronizada e fornecimento rigoroso de matérias-primas importadas. Alinhados com a nossa estratégia de desenvolvimento internacional, monitorizamos continuamente as tendências do mercado global e aproveitamos os canais digitais para levar produtos “Made in China” de alta qualidade a clientes em todo o mundo.
Ningbo • Base de P&D e Produção de Fenghua
Com um investimento total de 200 milhões de RMB, a Kaixin Ultra-Pure Pipe Technology (Ningbo) Co., Ltd. estabeleceu um novo laboratório de materiais em colaboração com universidades e institutos de pesquisa, construiu uma base de fabricação moderna e instalou 8 linhas de produção totalmente automatizadas para plásticos modificados e 8 para materiais poliméricos. A instalação é dedicada à pesquisa e desenvolvimento, produção e aplicação de novos plásticos modificados e materiais poliméricos. A Kaixin também está comprometida em atrair os melhores talentos em todas as disciplinas, impulsionando continuamente a inovação de produtos e o desenvolvimento de marcas, com o objetivo de se tornar um líder reconhecido mundialmente em pesquisa e desenvolvimento e fabricação de válvulas, tubos e conexões de polímero.
Certificado de Honra
  • honor
  • honor
  • honor
  • honor
  • honor
  • honor
  • honor
  • honor
  • honor
Notícias